Содержание
- 1 Виды рулонной изоляции
- 1.1 Наплавляемая гидроизоляция
- 1.2 Рулонная гидроизоляция с механической фиксацией
- 1.3 Оклеечная гидроизоляция
- 2 Рекомендации по выбору рулонных материалов
- 3 Методы монтажа рулонной гидроизоляции в зависимости от её вида
- 3.1 Устройство наплавляемой гидроизоляции
- 3.2
- 3.3 Монтаж монтируемой гидроизоляции
- 3.4
- 3.5 Устройство оклеечной гидроизоляции
- 4
- 5 Устройство рулонной гидроизоляции фундамента
- 5.1 Горизонтальная гидроизоляция
- 5.2 Вертикальная гидроизоляция
- 6 Рулонная гидроизоляция для пола
- 7 Расценки на устройство рулонной гидроизоляции
- 7.1 Калькулятор для самостоятельного расчёта стоимости гидроизоляции
- 8 Расчет стоимости гидроизоляции
О необходимости монтажа гидроизоляции помещений сооружений и конструкций известно каждому. Рулонная гидроизоляция обеспечивает надёжную защиту частных домов и коммерческих зданий от негативного воздействия грунтовых вод, низких температур, солей и других агрессивных химических веществ. В результате правильно сделанная гидроизоляция значительно продлевается срок службы здания и предотвращает его разрушение. На рынке представлен большой выбор рулонных гидроизоляционных материалов универсального или специального назначения для решения конкретных задач.
Виды рулонной изоляции
Для различных целей и конструктивов используются различные материалы, обладающие определёнными характеристиками.
Рулонные материалы могут отличаться между собой такими параметрами как:
- Основа материала –Полиэфир, Полиэстер, Стеклоткань, Стеклохолст, Безосновный;
- Тип покрытия верхней стороны – Мелкозернистая посыпка, yетканое полотно, gлёнка, базальт, песок, сланец, фольга, полипропилен;
- Тип покрытия наплавляемой стороны – Вентилируемое покрытие, плёнка;
- Толщина в мм – 1,5мм-4мм;
- Вид конструкции на которую можно нанести гидроизоляцию – Фундамент, кровля, стены, пол, универсальное использование;
- Способ монтажа – Оклеечный, наплавление, механическая фиксация, свободная укладка, укладка на мастику и комбинированные варианты;
- Срок службы;
- Температурный режим использования.
В зависимости от способа фиксации к основанию рулонные изделья делятся на следующие виды:
- Наплавляемые;
- Монтируемые;
- Оклеечные.
Наплавляемая гидроизоляция
Состоит из двух слоёв. Нижняя основа может быть полиэтиленовой, из стеклоткани, стеклохолста. На основание нанесено вяжущее покрытие, которое в процессе нагревания расплавляется и прочно фиксируется на рабочей поверхности. В качестве вяжущих составов для монтажа используются битумные мастики с различными улучшающими добавками. Чаще всего наплавляемые гидроизоляционные составы применяют для кровельных работ.
Материал широко распространён благодаря доступной цене, простоте нанесения и отличным гидроизоляционным свойствам. При правильном нанесении получается качественная монолитная поверхность, устойчивая к негативным внешним факторам.
Из чего состоит наплавляемая гидроизоляция:
- Верхний защитный слой
- Битумно-полимерное вяжущее
- Основа
- Битумно-полимерное вяжущие
- Нижний защитный слой
Состав наплавляемой гидроизоляции
Стандартные характеристики наплавляемых материалов в зависимости от их марки и качества:
| Наименование показателя | Ед. изм. | Значение |
|
Максимальная сила растяжения |
Н | +/- 100-200 |
| Масса вяжущего с наплавляемой стороны | кг/м² | не менее 2 |
| Водопоглощение в течение 24 ч | % по массе | не более 1 |
| Температура гибкости на брусе R=15 мм и R=25 мм | оС | не выше -25 |
| Водонепроницаемость при давлении 10кПа | выдерживает | |
| Водонепроницаемость при давлении 0,2 МПа, в течение 2 ч | выдерживает | |
|
Сопротивление динамическому продавливанию |
мм | не менее 500-2000 |
|
Сопротивление статическому продавливанию |
кг | не менее 10-20 |
| Масса | кг/м² | 3-6 |
Рулонная гидроизоляция с механической фиксацией
Этот вид рулонного изделья крепится к основанию при помощи специальных планок или саморезов именно поэтому он классифицируется как монтируемый.
Основные материалы такого типа это:
- ПВХ мембраны – многослойная полимерная мембрана на основе пластифицированного поливинилхлорида (ПВХ). Эта мембрана имеет внутренние армирование полиэстеровой сеткой и стойкость к ультрафиолетовому излучению. Помимо этого, листы дополнительно обработаны антипиренами для гидроизоляции.
- ТПО Мембраны – рулонная гидроизоляционная мембрана, армированная стекловолокном из термопластичных полиолефинов на основе полиэтилена (ТПО).
Основные недостатки этого материала – это не очень эффективная защита основания от влаги из-за наличия многочисленных швов, отсутствия адгезии к поверхности и трудоёмкость монтажа.
Из чего состоит рулонная ПВХ мембрана:
- Верхний ПВХ компонент с защитой от ультрафиолетовых лучей солнца и от возможного скольжения
- Армированная сетка из полиэстра
- Нижний ПВХ компонент
Стандартные характеристики рулонных ПВХ и ТПО мембран:
| Наименование показателя | Значение |
| Температурный режим использования | от -10°С до +50°С |
| Армирование | Стеклохолст |
| Степень горючести | от Г2-Г4 |
| Толщина, мм | 1-1,5 |
| Размер | 2,10х10 и 2,10х20 |
| Производитель | Россия |
| Вид конструкции для монтажа | Фундамент, кровля |
Подробнее о мембранной гидроизоляции вы можете прочитать в статье – “Мембранная гидроизоляция: Виды материалов и способы их устройства“.
Оклеечная гидроизоляция
Двухслойный материал, с основанием из стеклоткани или ПВХ и полимерно-битумным составом сверху. Для фиксации оклеечных изделий используются эпоксидные клеевые составы и мастики. Для лучшего эффекта необходимо настилать клеевые составы в несколько слоёв.
Клеевые рулонные листы подходят для любых оснований, легко укладываются. Работы следует проводить в сухую погоду.
По входящему в состав изоляционному веществу выпускают следующие виды оклеечных композитов:
- Битумная гидроизоляция – в основе состава битум, смешанный с базальтовой или сланцевой крошкой. Основные материалы на битумной основе – рубероид, стеклорубероид, толь.
- Битумно-полимерная изоляция – к битуму добавляются специальные модификаторы (пластик или каучук), улучшающие свойства оклеечного материала: устойчивость к УФ-излучению и высоким температурам.
- Мембранные составы – изготавливаются на основе ПВХ, представляют тонкое покрытие, эффективно защищающее рабочую поверхность. Несмотря на небольшую толщину мембраны прочны и долговечны, безопасны, могут использоваться в широком диапазоне температур.
Из чего состоит оклеечная гидроизоляция:
- Полипропилен
- Битумно-полимерная смесь
- Полиэфир
- Битумно-полимерная смесь
- Полипропилен
Стандартные характеристики оклеечных материалов в зависимости от их марки и качества:
| Показатель | Значение |
| Способ монтажа | Самоклеющийся |
| Водопоглощение по объему, % не более | 0,8-1 |
| Температурный режим использования | +5 |
| Вес материала | от 1,5-2 кг/кв.м. |
| Предел прочности при статическом изгибе, не менее, Мпа | не менее 1 |
| Прочность сцепления с бетоном/металлом, Мпа (кгс/кв. см), не менее | 0,1-0,2 |
| Относительное удлиннение, %, не менее | не менее 20-60 |
| Температура гибкости на брусе R=25 мм, не выше, С | 10-25мм |
Рекомендации по выбору рулонных материалов
Рулонные типы материалов очень сложно ремонтируются в особенности тогда, когда речь идёт о гидроизоляции подземных частей зданий и сооружений, таких как фундаменты и стены подвала, расположенные ниже планировочной отметки грунта. Ремонт этих узлов в большинстве случаев повлечёт за собой множество затрат, связанных с демонтажем сделанной отмостки, разработкой грунта, демонтажем теплоизоляции, старого гидроизоляционного покрытия, а также затрат связанных с возвратом всех этих элементов.
Именно поэтому при выборе материала лучше всего выбирать изоляцию премиального качества, которая сможет прослужить долго и не разрушиться от воздействия агрессивной среды находящиеся в грунте и воде, такой как кислоты, щёлочи и соли.
Рулонные типы гидроизоляции делятся на 4 разных категории или класса:
- Премиум – высшая стойкость к воздействию агрессивной среды. Срок службы 15-20 лет.
- Бизнес – средняя стойкость к агрессивной среде. Срок службы 10-15 лет.
- Стандарт – Средняя устойчивость к внешним раздражителям. Срок службы 7-10 лет.
- Эконом – Очень низкая устойчивость к воздействию солей, щёлочи и кислот. Срок службы 3-7 лет.
Таблица разделение известных на рынке рулонных гидроизоляционных материалов по классам:
| Премиум | Бизнес | Стандарт | Эконом |
|
|
|
|
Качественные альтернативы рулонной и мембранной гидроизоляции:
- Гидроизоляция жидкой резиной
- Полиуретановая гидроизоляция
Где можно самостоятельно купить рулонную гидроизоляцию:
Если задача стоит в том, чтобы купить качественный материал, по низким ценам и с быстрой доставкой до объекта, то лучше всего обращаться в нашем интернет магазине. Его основные преимущества это:
- Низкие цены на рулонную изоляцию и другие строительные продукты;
- Удобное оформление заказа онлайн, без необходимости стоять в очереди или в пробке;
- Доставка до объекта.
Методы монтажа рулонной гидроизоляции в зависимости от её вида
Для каждого вида рулонной гидроизоляции есть свой метод устройства или монтажа. Далее изучим каждый метод по отдельности.
Устройство наплавляемой гидроизоляции
Наплавляемая гидроизоляция укладывается на поверхность при помощи наплавления активного слоя с использованием живого огня.
Технология укладки:
- Подготовка поверхности – Удаление грязи и пыли;
- Грунтовка – Нанесение битумного праймера для улучшения адгезии рулона с основанием;
- Подготовка инструмента – Заправка газовых горелок газом;
- Наплавления 1-го слоя – При помощи газовых горелок и огня, наплавляется первый слой рулонной изоляции. Рулоны наплавляются внахлёст друг на друга в 15см;
- Фиксация – Параллельно с наплавлением рулоны прижимаются к основанию специальным валиком;
- Наплавления 2-го слоя – Аналогично первому слою наплавляется 2-й слой, таким образом, чтобы перекрывать швы первого слоя.
Нажав на ссылку, вы можете скачать подробную инструкцию по устройству наплавляемых материалов от наших партнёров компании Технониколь – Инструкция по монтажу гидроизоляционной мембраны из битумно-полимерных рулонных материалов.
Видео инструкция по укладке рулонной наплавляемой гидроизоляции:
Монтаж монтируемой гидроизоляции
Монтируемые виды гидроизоляционных покрытий не имеют адгезии или сцепления с основанием и крепятся на краях при помощи планок и саморезов.
Технология монтажа:
- Подготовка основания и очистка его от грязи;
- Устройство геотекстильного полотна с фиксации к основанию;
- Крепление рулонов по краям специальными прижимными планками и фиксаторами;
- Монтаж рулонов из ПВХ или ТПО внахлёст в 15см;
- Сшивания рулонов при помощи строительного фена или специальной установки нагревающей соединения до температуры в 550-650 градусов. При устройстве вертикальных соединений или подъёмов на различные конструктивы преимущественно использовать строительный фен.
Нажав на ссылку, вы можете скачать подробную инструкцию по устройству рулонных ПВХ мембран от наших партнёров компании SIKA – Инструкция по укладке рулонной гидроизоляции из ПВХ мембран от компании Sika.
Нажав на ссылку, вы можете скачать подробную инструкцию по устройству рулонных ТПО мембран от наших партнёров компании SIKA – Инструкция по укладке рулонной гидроизоляции из ТПО мембран от компании Sika.
Нажав на ссылку, вы можете скачать подробную инструкцию по устройству рулонных ПВХ материалов от наших партнёров компании Технониколь – Инструкция по монтажу гидроизоляционной системы из ПВХ мембран.
Нажав на ссылку, вы можете прочитать более подробную информацию о данном виде гидроизоляции и о способах её монтажа – Мембранная гидроизоляция: Виды материалов и способы их устройства.
Видео инструкция по монтажу ПВХ мембраны:
Устройство оклеечной гидроизоляции
Оклеечная гидроизоляция монтируется с помощью её наклеивания на основание. В основном речь идёт о самоклеящихся рулонах.
Технология укладки:
- Очистка основания;
- Нарезка листов до нужного размера по высоте основания;
- Устройство и нанесение битумного праймера;
- Наклейка рулонов на основание методом их раскатки снизу вверх. Рулоны наклеиваются внахлёст в 15см;
- Прижим рулонов к основанию;
- При устройстве дополнительных слоёв, поверхность снова обмазывается битумным праймером, а затем на неё наклеивается очередной слой гидроизоляции в порядке перекрывающим швы предыдущего.
Нажав на ссылку, вы можете скачать подробную инструкцию по устройству оклеечных мембран от наших партнёров компании Технониколь – Инструкция по монтажу оклеечной изоляции.
Видео инструкция по монтажу оклеечных материалов:
Устройство рулонной гидроизоляции фундамента
Рулонную гидроизоляцию, как правило, применяют в работах, связанных с устройством защиты фундамента и стен фундамента от воды и влаги, так как материалы этого типа доступны в продаже и относительно недорогие.
Если говорить о монтаже гидроизоляции различных типов фундаментов, то самая распространённая рулонная изоляция — это – Наплавляемые изделья премиального качества.
При устройстве защиты фундаментов необходимо учесть как горизонтальную, так и вертикальную гидроизоляцию.
Подробнее о защите фундамента и стен от воды можно прочитать в следующих статьях:
- Устройство гидроизоляции фундамента: Методы, материалы, цены и рекомендации специалистов
- Гидроизоляция ленточного фундамента: Технология и материалы
- Гидроизоляция блоков фундамента и стен
- Гидроизоляция стен подвала и дома снаружи и изнутри – Методы, материалы, цены и технология
- Гидроизоляция кирпича и кирпичной кладки
Горизонтальная гидроизоляция
Устройство рулонных листов на горизонтальную поверхность необходимо выполнить перед заливкой фундаментной плиты монтируя гидроизоляцию под бетонку, а также на горизонтальное основание плиты после её заливки.
Горизонтальная защита от воды выполняется в 1-3 слоя при использованье наплавляемых и оклеечных материалов и в 1 слой при использовании ПВХ и ТПО мембран.
При работе с ленточными фундаментами гидроизоляция выполняется между фундаментной подушкой и блоками, а также между блоками и стеной, что в свою очередь служит так называемой отсечной гидроизоляции.
Подробно о горизонтальной изоляции можно прочитать в статье – «Горизонтальная гидроизоляция».
Схема устройства горизонтальной гидроизоляции рулонными материалами:
Схема устройства горизонтальной гидроизоляции
Вертикальная гидроизоляция
При монтаже рулонных листов на вертикальное основание стен и фундамента, стоит учесть, то что изоляцию следует поднимать на 20-30см выше проектной отметки грунта.
Оклеечные и наплавляемые рулоны укладываются на вертикаль в 2-3 слоя. ПВХ мембраны в 1 слой. При монтаже рулоны крепятся на верхнею точку вертикальной поверхности с помощью специальных прижимных планок.
Подробно о вертикальной изоляции и способах её монтажа можно прочитать в статье – «Вертикальная гидроизоляция».
Схема устройства вертикальной гидроизоляции рулонной изоляции:
Рулонная гидроизоляция для пола
Пол частного дома или коммерческого здания, также нуждается в устройстве качественной гидроизоляции. Для этой цели можно использовать рулонные мембраны различного типа.
При устройстве рулонной и другой гидроизоляции пола необходимо выполнить несколько основных шагов:
- Подготовить поверхности в плане её очистки от пыли и грязи;
- На примыканиях пол стена необходимо сделать небольшой плинтус из цпс или специальной ленты для плавного перехода изоляции с горизонта на вертикаль;
- Нанести на поверхность битумный праймер для улучшения наплавляемых и оклеечных листовых рулонов с основанием;
- Выполнить монтаж изоляционного покрытия в 1-2 слоя, так чтобы второй слой перекрывал швы предыдущего.
Подробнее о гидроизоляции пола можно прочитать в следующих статьях:
- Гидроизоляция пола подвала дома: Методы, технологии устройства и материалы”
- Гидроизоляция бетонного пола в частном доме – Подробное руководство как сделать эту работу своими руками и какие при этом использовать материалы
Расценки на устройство рулонной гидроизоляции
Ниже приведена таблица с ценами на устройства различных видов гидроизоляции. При указании расценок и цена за 1м2 учитывались стандартные показатели сложности выполнения работ, а также материалы среднего качества.
Если вы хотите узнать точные цены и получить подробный сметный расчёт с указанием актуальных цен на все позиции, то вы можете написать нам на электронную почту или позвонить по телефону, указанному в контактах.
| Наименование работ | Единица измерения |
Цена в Рублях |
| Устройство наплавляемой гидроизоляции на горизонт в 1 слой | м2 | 360 |
| Устройство наплавляемой гидроизоляции на вертикаль в 1 слой | м2 | 490 |
| Монтаж самоклеящейся мембраны на горизонт в 1 слой | м2 | 350 |
| Монтаж самоклеящейся мембраны на вертикаль в 1 слой | м2 | 480 |
| Устройство ПВХ мембраны на горизонт в 1 слой | м2 | 580 |
| Устройство ПВХ мембраны на вертикаль в 1 слой | м2 | 680 |
| Нанесение битумного праймера | м2 | 100 |
Калькулятор для самостоятельного расчёта стоимости гидроизоляции
В две колонки
Вертикальный
Горизонтальный
Расчет стоимости гидроизоляции
Итоговая стоимость гидроизоляции
«{{getWooProductName}}» вы добавили в свою корзину
Your service request has been completed!
We have sent your request information to your email.
Issued on:
{{ $store.getters.getIssuedOn }}
Способ оплаты:
{{ $store.getters.getPaymentType }}
{{ item.label }}:
{{ item.converted }}
О необходимости монтажа гидроизоляции помещений сооружений и конструкций известно каждому. Рулонная гидроизоляция обеспечивает надёжную защиту частных домов и коммерческих зданий от негативного воздействия грунтовых вод, низких температур, солей и других агрессивных химических веществ. В результате правильно сделанная гидроизоляция значительно продлевается срок службы здания и предотвращает его разрушение. На рынке представлен большой выбор рулонных гидроизоляционных материалов универсального или специального назначения для решения конкретных задач.
Виды рулонной изоляции
Для различных целей и конструктивов используются различные материалы, обладающие определёнными характеристиками.
Рулонные материалы могут отличаться между собой такими параметрами как:
- Основа материала –Полиэфир, Полиэстер, Стеклоткань, Стеклохолст, Безосновный;
- Тип покрытия верхней стороны – Мелкозернистая посыпка, yетканое полотно, gлёнка, базальт, песок, сланец, фольга, полипропилен;
- Тип покрытия наплавляемой стороны – Вентилируемое покрытие, плёнка;
- Толщина в мм – 1,5мм-4мм;
- Вид конструкции на которую можно нанести гидроизоляцию – Фундамент, кровля, стены, пол, универсальное использование;
- Способ монтажа – Оклеечный, наплавление, механическая фиксация, свободная укладка, укладка на мастику и комбинированные варианты;
- Срок службы;
- Температурный режим использования.
В зависимости от способа фиксации к основанию рулонные изделья делятся на следующие виды:
- Наплавляемые;
- Монтируемые;
- Оклеечные.
Наплавляемая гидроизоляция
Состоит из двух слоёв. Нижняя основа может быть полиэтиленовой, из стеклоткани, стеклохолста. На основание нанесено вяжущее покрытие, которое в процессе нагревания расплавляется и прочно фиксируется на рабочей поверхности. В качестве вяжущих составов для монтажа используются битумные мастики с различными улучшающими добавками. Чаще всего наплавляемые гидроизоляционные составы применяют для кровельных работ.
Материал широко распространён благодаря доступной цене, простоте нанесения и отличным гидроизоляционным свойствам. При правильном нанесении получается качественная монолитная поверхность, устойчивая к негативным внешним факторам.
Из чего состоит наплавляемая гидроизоляция:
- Верхний защитный слой
- Битумно-полимерное вяжущее
- Основа
- Битумно-полимерное вяжущие
- Нижний защитный слой
Состав наплавляемой гидроизоляции
Стандартные характеристики наплавляемых материалов в зависимости от их марки и качества:
Смотреть характеристики в таблице
| Наименование показателя | Ед. изм. | Значение |
| Максимальная сила растяжения | Н | +/- 100-200 |
| Масса вяжущего с наплавляемой стороны | кг/м² | не менее 2 |
| Водопоглощение в течение 24 ч | % по массе | не более 1 |
| Температура гибкости на брусе R=15 мм и R=25 мм | оС | не выше -25 |
| Водонепроницаемость при давлении 10кПа | выдерживает | |
| Водонепроницаемость при давлении 0,2 МПа, в течение 2 ч | выдерживает | |
| Сопротивление динамическому продавливанию | мм | не менее 500-2000 |
| Сопротивление статическому продавливанию | кг | не менее 10-20 |
| Масса | кг/м² | 3-6 |
Рулонная гидроизоляция с механической фиксацией
Этот вид рулонного изделья крепится к основанию при помощи специальных планок или саморезов именно поэтому он классифицируется как монтируемый.
Основные материалы такого типа это:
- ПВХ мембраны – многослойная полимерная мембрана на основе пластифицированного поливинилхлорида (ПВХ). Эта мембрана имеет внутренние армирование полиэстеровой сеткой и стойкость к ультрафиолетовому излучению. Помимо этого, листы дополнительно обработаны антипиренами для гидроизоляции.
- ТПО Мембраны – рулонная гидроизоляционная мембрана, армированная стекловолокном из термопластичных полиолефинов на основе полиэтилена (ТПО).
Основные недостатки этого материала – это не очень эффективная защита основания от влаги из-за наличия многочисленных швов, отсутствия адгезии к поверхности и трудоёмкость монтажа.
Из чего состоит рулонная ПВХ мембрана:
- Верхний ПВХ компонент с защитой от ультрафиолетовых лучей солнца и от возможного скольжения
- Армированная сетка из полиэстра
- Нижний ПВХ компонент
Стандартные характеристики рулонных ПВХ и ТПО мембран:
Смотреть таблицу характеристик
| Наименование показателя | Значение |
| Температурный режим использования | от -10°С до +50°С |
| Армирование | Стеклохолст |
| Степень горючести | от Г2-Г4 |
| Толщина, мм | 1-1,5 |
| Размер | 2,10х10 и 2,10х20 |
| Производитель | Россия |
| Вид конструкции для монтажа | Фундамент, кровля |
Оклеечная гидроизоляция
Двухслойный материал, с основанием из стеклоткани или ПВХ и полимерно-битумным составом сверху. Для фиксации оклеечных изделий используются эпоксидные клеевые составы и мастики. Для лучшего эффекта необходимо настилать клеевые составы в несколько слоёв. Клеевые рулонные листы подходят для любых оснований, легко укладываются. Работы следует проводить в сухую погоду.
По входящему в состав изоляционному веществу выпускают следующие виды оклеечных композитов:
- Битумная гидроизоляция – в основе состава битум, смешанный с базальтовой или сланцевой крошкой. Основные материалы на битумной основе – рубероид, стеклорубероид, толь.
- Битумно-полимерная изоляция – к битуму добавляются специальные модификаторы (пластик или каучук), улучшающие свойства оклеечного материала: устойчивость к УФ-излучению и высоким температурам.
- Мембранные составы – изготавливаются на основе ПВХ, представляют тонкое покрытие, эффективно защищающее рабочую поверхность. Несмотря на небольшую толщину мембраны прочны и долговечны, безопасны, могут использоваться в широком диапазоне температур.
Из чего состоит оклеечная гидроизоляция:
- Полипропилен
- Битумно-полимерная смесь
- Полиэфир
- Битумно-полимерная смесь
- Полипропилен
Стандартные характеристики оклеечных материалов в зависимости от их марки и качества:
Смотреть характиристики в таблице
| Показатель | Значение |
| Способ монтажа | Самоклеющийся |
| Водопоглощение по объему, % не более | 0,8-1 |
| Температурный режим использования | +5 |
| Вес материала | от 1,5-2 кг/кв.м. |
| Предел прочности при статическом изгибе, не менее, Мпа | не менее 1 |
| Прочность сцепления с бетоном/металлом, Мпа (кгс/кв. см), не менее | 0,1-0,2 |
| Относительное удлиннение, %, не менее | не менее 20-60 |
| Температура гибкости на брусе R=25 мм, не выше, С | 10-25мм |
Что это за материал?
Рубероид представляет собой материал, выпускаемый в рулонах и используемый в строительной сфере для создания слоев гидроизоляции, строительства крыш. Он состоит из стеклоткани или особого кровельного картона, который тщательно пропитывается битумным составом, далее покрывается битумом тугоплавким и посыпается специальным материалом, предотвращающим слипание отдельных слоев материала между собой. Для посыпки могут применяться тальк, песок, асбест и другие материалы. Крупнозернистая посыпка, которая наносится на лицевую сторону рубероида, необходима для обеспечения длительного срока службы, сопротивляемости воздействию осадков и других погодных явлений.
На заметку! В состав рубероида могут входить дополнительно различные полимеры, улучшающие его сопротивляемость воздействию низких температур. Такой материал используется преимущественно в холодных северных регионах. В этом случае рубероид способен выдерживать понижение температуры воздуха до -50 градусов.
Рубероид имеет ряд достоинств, потому и является незаменимым материалом при создании кровли. Он стоит недорого, отлично сопротивляется воздействию воды, герметичен, прост в работе, мягкий. Но к недостаткам покрытия можно отнести то, что он является достаточно хрупким, легко рвется и быстро приходит в негодность, находясь под открытым небом во время жары или при чрезмерной влажности воздуха. Именно поэтому материал обычно укладывается в несколько слоев сразу – тогда он выдерживает максимальные нагрузки. А еще больше увеличить прочность покрытия помогают битумные мастики, используемые во время монтажа. Также стоит помнить, что рубероид склонен к возгоранию.
Для крепления можно использовать специальные “рубероидные” гвозди
Рекомендации по выбору рулонных материалов
Рулонные типы материалов очень сложно ремонтируются в особенности тогда, когда речь идёт о гидроизоляции подземных частей зданий и сооружений, таких как фундаменты и стены подвала, расположенные ниже планировочной отметки грунта. Ремонт этих узлов в большинстве случаев повлечёт за собой множество затрат, связанных с демонтажем сделанной отмостки, разработкой грунта, демонтажем теплоизоляции, старого гидроизоляционного покрытия, а также затрат связанных с возвратом всех этих элементов.
Именно поэтому при выборе материала лучше всего выбирать изоляцию премиального качества, которая сможет прослужить долго и не разрушиться от воздействия агрессивной среды находящиеся в грунте и воде, такой как кислоты, щёлочи и соли.
Рулонные типы гидроизоляции делятся на 4 разных категории или класса:
- Премиум – высшая стойкость к воздействию агрессивной среды. Срок службы 15-20 лет.
- Бизнес – средняя стойкость к агрессивной среде. Срок службы 10-15 лет.
- Стандарт – Средняя устойчивость к внешним раздражителям. Срок службы 7-10 лет.
- Эконом – Очень низкая устойчивость к воздействию солей, щёлочи и кислот. Срок службы 3-7 лет.
Таблица разделение известных на рынке рулонных гидроизоляционных материалов по классам:
| Премиум | Бизнес | Стандарт | Эконом |
|
|
|
|
Качественные альтернативы рулонной и мембранной гидроизоляции:
- Гидроизоляция жидкой резиной
- Полиуретановая гидроизоляция
Разновидности оклеечных материалов
Битумная
Традиционно в качестве основы использовался битум и его производные — продукты переработки сырой нефти. Давно было замечено, что нужный битумный клей, который становится жидким при температуре около 100оС, имеющая при нанесении хорошую адгезию (клеевое сцепление) к горизонтальным, наклонным, а также вертикальным поверхностям, в обычных условиях быстро схватывается, образуя плотную плохо смачиваемую пленку, не пропускающую воду.
Свойства битума позволяют создавать из него широкий ассортимент оклеечной изоляции — от толи и рубероида, до систем, имеющих собственные названия, выпускаемых под различными торговыми марками — Биполь, Технониколь, Изопласт, Техноэласт и т.д.
Эти рулонные гидроизоляционные материалы различаются использованием в них различной основы — от бумаги, картона, до стеклоткани, стеклосетки, полимерных тканых, нетканых волоконных холстов, а также разнообразных присадок, повышающих атмосферостойкость и эксплуатационные свойства обычного битума.
Преимущества битумной гидроизоляции:
- ускоренная гидроизоляция обширных горизонтальных и вертикальных поверхностей;
- высокая прочность на разрыв (при стекловолокнистой или полимерной основе);
- длительный срок эксплуатации от 10 лет для картонной основы до 50 лет при армировании тканью на стеклянных или пластиковых волокнах;
- низкие требования к квалификации исполнителей и применении специального оборудования и инструмента.
Недостатки:
- предварительная подготовка рабочей поверхности: выглаживание;
- шпаклевка;
- огрунтовка;
- длительная просушка;
Порядок проведения работ
- Тщательная очистка от мелкого мусора, пыли, наплывов, масляных пятен.
- Удаление острых кромок, углов и граней.
- Огрунтовка со свойствами глубоко проникающей пропитки.
- Длительная естественная сушка.
- Наплавление покрытия в направлении снизу – вверх (при вертикальном использовании), путем разогрева клеящей поверхности газовой горелкой.
- Накатывание валиками или роликами до полного застывания битумного клеящего расплава.
Рубероид
Битумная рубероидная гидроизоляция рулонная на картонной основе с односторонней крупнопесчаной присыпкой поверхности, обращенной наружу там, где незащищенная рука ощущает шероховатость. Наклеивается на защищаемую поверхность при помощи расплавленного битума.
Стеклорубероид
Рулонный гидроизоляционный материал, то же, что и рубероид, в котором картонная основа заменена на стеклоткань.
Гидростеклоизол
Основой служит стекловолокно ткань или холст. При укладке с перехлестом, края материала приплавляются при помощи горелки. Затем плотно пожимаются валиком, и образуют сплошной водонепроницаемый ковёр, свободно лежащий на горизонтальной плоскости.
Гидроизол
Аналогичен по свойствам гидростеклоизолу с такой же технологией укладки. Разница в том, что стеклянные волокна здесь заменены на полимерные.
Фольгоизол
Тонкая алюминиевая фольга, покрытая с одной стороны битумом или вспененным пластифицированным полимером, защищенным тонкой пленкой из ПВХ. Совмещает водоотталкивающие, а также функции тепловой защиты.
Использует способность алюминиевой фольги зеркально отражать тепловое излучение. В некоторых случаях на края фольгоизола, образующие нахлест, при укладке, наносится самоклеящаяся мастика, упрощающая его монтаж при установке.
Битумно-полимерная
Битумно-полимерная оклеечная изоляция от водного воздействия изготавливается путем пропитки тканой и нетканой основы. Армирующий слой создается из стеклянных, минеральных или полимерных волокон.
Для изготовления наружного и внутреннего защитных слоев эмульсионные мастики, содержащие битум, смешиваются с водорастворимыми взвесями таких смол, как ПВХ, акрил, винилацетат. Требует тщательной подготовки и огрунтовки поверхности.
Может быть интересно
Гидроизоляция
Как правильно выбрать гидроизоляция пола под стяжку?
Гидроизоляция
Гидроизоляция фундамента: оптимальный выбор технологии
Гидроизоляция
Чистая вода – залог здоровья, гидроизоляция бетонных…
Гидроизоляция
Инструкция по гидроизоляции бассейна
Устанавливается на холодную битумно-резиновую мастику, которая после нанесения на вертикальные или наклонные поверхности выдерживается несколько часов для увеличения тиксотропности (антисползания под собственным весом).
К изоляции этого типа относятся:
- Изопласт. Гидроизоляционное покрытие, армированное полимерной полиэстерной основой (тканью), с двух сторон защищенное полимерной пленкой, а с внешней — дополнительной посыпкой из крупнозернистого сланцевого песка. Укладывается путем наплавления краев или приклеивания мастиками холодного отверждения. Образует прочное покрытие с большим сроком эксплуатации.
- Филизол. Кровельный оклеечный материал со стеклотканой основой. Укладывается на специальную клеевую мастику холодного отверждения, наносимую на защищаемую и обратную поверхность рулонного ковра.
- Экарбит. Материал с картонной основой, разновидность обычного рубероида, в котором битумная пропитка для прочности модифицирована полимерными дисперсиями или синтетическим каучуком.
Полимерная гидрозащита
Обычно это безбитумный материал, представляющий собой тонколистовые или рулонные изделия из пластифицированных полимерных смол.
Устанавливается при помощи клеев и мастик холодного отверждения, иногда одностороннего или двустороннего скотча. Недорогая и достаточно эффективная изоляция.
Полиэтиленовая и полипропиленовая пленка
Самый распространенный гидроизоляционный материал этой группы — это обычная полиэтиленовая или пропиленовая пленка. Она часто используется для гидроизоляции и пароизоляции фасадов зданий и сооружений с внешней стороны при их облицовке, в том числе и вентилируемой. Также пленку применяют в качестве подложки при устройстве финишного покрытия кровли.
Синтетический каучук
Гидроизоляцию на основе синтетического каучука часто выпускают в виде листов, которые можно клеить на защищаемую поверхность. Эти материалы имеют вид тонких резиноподобных ковриков.
Срок эксплуатации такой гидроизоляции при условии ее дополнительной защиты от механических и атмосферных воздействий, а также солнечного ультрафиолета достигает свыше 50 лет.
Гидробутил
Одна из разновидностей гидроизоляции на основе бутилкаучука, модифицированного специальными добавками.
Методы монтажа рулонной гидроизоляции в зависимости от её вида
Для каждого вида рулонной гидроизоляции есть свой метод устройства или монтажа. Далее изучим каждый метод по отдельности.
Устройство наплавляемой гидроизоляции
Наплавляемая гидроизоляция укладывается на поверхность при помощи наплавления активного слоя с использованием живого огня.
Технология укладки:
- Подготовка поверхности – Удаление грязи и пыли;
- Грунтовка – Нанесение битумного праймера для улучшения адгезии рулона с основанием;
- Подготовка инструмента – Заправка газовых горелок газом;
- Наплавления 1-го слоя – При помощи газовых горелок и огня, наплавляется первый слой рулонной изоляции. Рулоны наплавляются внахлёст друг на друга в 15см;
- Фиксация – Параллельно с наплавлением рулоны прижимаются к основанию специальным валиком;
- Наплавления 2-го слоя – Аналогично первому слою наплавляется 2-й слой, таким образом, чтобы перекрывать швы первого слоя.
Нажав на ссылку, вы можете скачать подробную инструкцию по устройству наплавляемых материалов от наших партнёров компании Технониколь – Инструкция по монтажу гидроизоляционной мембраны из битумно-полимерных рулонных материалов.
Видео инструкция по укладке рулонной наплавляемой гидроизоляции:
Монтаж монтируемой гидроизоляции
Монтируемые виды гидроизоляционных покрытий не имеют адгезии или сцепления с основанием и крепятся на краях при помощи планок и саморезов.
Технология монтажа:
- Подготовка основания и очистка его от грязи;
- Устройство геотекстильного полотна с фиксации к основанию;
- Крепление рулонов по краям специальными прижимными планками и фиксаторами;
- Монтаж рулонов из ПВХ или ТПО внахлёст в 15см;
- Сшивания рулонов при помощи строительного фена или специальной установки нагревающей соединения до температуры в 550-650 градусов. При устройстве вертикальных соединений или подъёмов на различные конструктивы преимущественно использовать строительный фен.
Нажав на ссылку, вы можете скачать подробную инструкцию по устройству рулонных ПВХ мембран от наших партнёров компании SIKA – Инструкция по укладке рулонной гидроизоляции из ПВХ мембран от компании Sika.
Нажав на ссылку, вы можете скачать подробную инструкцию по устройству рулонных ТПО мембран от наших партнёров компании SIKA – Инструкция по укладке рулонной гидроизоляции из ТПО мембран от компании Sika.
Нажав на ссылку, вы можете скачать подробную инструкцию по устройству рулонных ПВХ материалов от наших партнёров компании Технониколь – Инструкция по монтажу гидроизоляционной системы из ПВХ мембран.
Нажав на ссылку, вы можете прочитать более подробную информацию о данном виде гидроизоляции и о способах её монтажа – Мембранная гидроизоляция: Виды материалов и способы их устройства.
Видео инструкция по монтажу ПВХ мембраны:
Устройство оклеечной гидроизоляции
Оклеечная гидроизоляция монтируется с помощью её наклеивания на основание. В основном речь идёт о самоклеящихся рулонах.
Технология укладки:
- Очистка основания;
- Нарезка листов до нужного размера по высоте основания;
- Устройство и нанесение битумного праймера;
- Наклейка рулонов на основание методом их раскатки снизу вверх. Рулоны наклеиваются внахлёст в 15см;
- Прижим рулонов к основанию;
- При устройстве дополнительных слоёв, поверхность снова обмазывается битумным праймером, а затем на неё наклеивается очередной слой гидроизоляции в порядке перекрывающим швы предыдущего.
Нажав на ссылку, вы можете скачать подробную инструкцию по устройству оклеечных мембран от наших партнёров компании Технониколь – Инструкция по монтажу оклеечной изоляции.
Видео инструкция по монтажу оклеечных материалов:
Это следует знать об оклеечной гидроизоляции
Гидроизоляционные материалы такого типа бывают самоклеящимися и такими, для монтажа которых требуется клеящий состав. Последние применяются чаще, для их наклейки требуется битумная мастика. Наиболее распространенный вид оклеечной гидроизоляции – рубероид. Но в последнее время он используется реже. Причина – непрочная картонная основа, на смену которой приходят более совершенные материалы. По способу ориентации гидроизоляция оклеечная рулонная бывает:
- горизонтальной: ее укладывают поверх возведенного фундамента с целью предотвращения возможности распространения влаги в сторону стен со стороны грунта по капиллярам;
- вертикальной: битумные рулоны наклеивают на фундамент сразу после окончания его строительства, но до того, как будет выполнена обратная отсыпка грунта.
Задача вертикальной гидроизоляции – перекрыть путь грунтовым водам к конструкции основания и другим элементам здания. Поверх рулонного материала механическим способом крепится мембрана, также предназначенная для гидрозащиты.
Отдельную группу составляет рулонная гидроизоляция, для монтажа которой требуется механический крепеж. К таким относятся гидробарьер и мембрана. Эти полимерные материалы укладывают под кровельным материалом скатной крыши и поверх внешних стен фундамента.
Устройство рулонной гидроизоляции фундамента
Рулонную гидроизоляцию, как правило, применяют в работах, связанных с устройством защиты фундамента и стен фундамента от воды и влаги, так как материалы этого типа доступны в продаже и относительно недорогие.
Если говорить о монтаже гидроизоляции различных типов фундаментов, то самая распространённая рулонная изоляция — это – Наплавляемые изделья премиального качества.
При устройстве защиты фундаментов необходимо учесть как горизонтальную, так и вертикальную гидроизоляцию.
Горизонтальная гидроизоляция
Устройство рулонных листов на горизонтальную поверхность необходимо выполнить перед заливкой фундаментной плиты монтируя гидроизоляцию под бетонку, а также на горизонтальное основание плиты после её заливки.
Горизонтальная защита от воды выполняется в 1-3 слоя при использованье наплавляемых и оклеечных материалов и в 1 слой при использовании ПВХ и ТПО мембран.
При работе с ленточными фундаментами гидроизоляция выполняется между фундаментной подушкой и блоками, а также между блоками и стеной, что в свою очередь служит так называемой отсечной гидроизоляции.
Подробно о горизонтальной изоляции можно прочитать в статье – «Горизонтальная гидроизоляция».
Схема устройства горизонтальной гидроизоляции рулонными материалами:
Вертикальная гидроизоляция
При монтаже рулонных листов на вертикальное основание стен и фундамента, стоит учесть, то что изоляцию следует поднимать на 20-30см выше проектной отметки грунта.
Оклеечные и наплавляемые рулоны укладываются на вертикаль в 2-3 слоя. ПВХ мембраны в 1 слой. При монтаже рулоны крепятся на верхнею точку вертикальной поверхности с помощью специальных прижимных планок.
Подробно о вертикальной изоляции и способах её монтажа можно прочитать в статье – «Вертикальная гидроизоляция».
Схема устройства вертикальной гидроизоляции рулонной изоляции:
Популярная наплавляемая гидроизоляция Технониколь
В качестве рулонного материала для влагозащиты особой популярностью пользуется наплавляемая гидроизоляция Технониколь.
- битума;
- бутадиен-стирола;
- полиолефинов;
- полимерного модификатора.
С обеих сторон на материал гидроизоляции нанесены защитные покрытия из мелкозернистой посыпки или полимера.
Цена наплавляемой гидроизоляции» Технониколь зависит от состава материала. Так, гидроизоляция на основе полиэфирного волокна стоит дороже.
Рулонная гидроизоляция для пола
Пол частного дома или коммерческого здания, также нуждается в устройстве качественной гидроизоляции. Для этой цели можно использовать рулонные мембраны различного типа.
Рекомендация: Для бетонного пола рекомендуется использовать премиальные наплавляемые листы, а для деревянных полов настил и оклеечные виды изоляции.
При устройстве рулонной и другой гидроизоляции пола необходимо выполнить несколько основных шагов:
- Подготовить поверхности в плане её очистки от пыли и грязи;
- На примыканиях пол стена необходимо сделать небольшой плинтус из цпс или специальной ленты для плавного перехода изоляции с горизонта на вертикаль;
- Нанести на поверхность битумный праймер для улучшения наплавляемых и оклеечных листовых рулонов с основанием;
- Выполнить монтаж изоляционного покрытия в 1-2 слоя, так чтобы второй слой перекрывал швы предыдущего.
Маркировка гидроизоляционных материалов
В магазине без помощи менеджера можно без труда отличить материалы по буквенным обозначениям в маркировке.
- Буква «К» обозначает, что этот материал является одновременно и кровельным, и гидроизолирующим. На поверхность рулонов нанесен защитный слой из каменной крошки. Длина рулонов составляет 10 м. Оценивается рулонная оклеечная гидроизоляция Технониколь в зависимости от ее толщины (обычно – в пределах 3,5 – 4,0 мм), длины, материала основы и состава битума.
- Буква «П» присутствует в маркировке гидроизоляционных материалов для основания или пола. Каменной крошки у них нет, обе стороны покрыты битумом. Рулоны длиной 15 м (иногда – меньше) сматываются из листов толщиной 2,5 мм. Кроме изоляции подвалов, парных, погребов и т.п. их используют для настила на кровлю перед укладкой верхнего слоя.
Расценки на устройство рулонной гидроизоляции
Ниже приведена таблица с ценами на устройства различных видов гидроизоляции. При указании расценок и цена за 1м2 учитывались стандартные показатели сложности выполнения работ, а также материалы среднего качества.
Если вы хотите узнать точные цены и получить подробный сметный расчёт с указанием актуальных цен на все позиции, то вы можете написать нам на электронную почту или позвонить по телефону, указанному в контактах.
| Наименование работ | Единица измерения | Цена в Рублях |
| Устройство наплавляемой гидроизоляции на горизонт в 1 слой | м2 | 360 |
| Устройство наплавляемой гидроизоляции на вертикаль в 1 слой | м2 | 490 |
| Монтаж самоклеящейся мембраны на горизонт в 1 слой | м2 | 350 |
| Монтаж самоклеящейся мембраны на вертикаль в 1 слой | м2 | 480 |
| Устройство ПВХ мембраны на горизонт в 1 слой | м2 | 580 |
| Устройство ПВХ мембраны на вертикаль в 1 слой | м2 | 680 |
| Нанесение битумного праймера | м2 | 100 |
Калькулятор для самостоятельного расчёта стоимости гидроизоляции
Открыть калькулятор
Расчет стоимости гидроизоляции
Особенности наплавляемой гидроизоляции
Наплавляемая гидроизоляция является разновидностью оклеечной. К поверхности она приклеивается при расплавлении внешнего слоя, для чего материал должен подвергнуться нагреванию. Достаточно накрыть материалом поверхность и нагреть, в результате после остывания получается непроницаемое покрытие с долгим сроком службы.
Особенностью наплавляемых материалов являются хорошие эксплуатационные характеристики в условиях прижимающего давления. Если предполагается давление на отрыв, от такого вида гидроизоляции лучше отказаться. По этой причине наплавляемую гидроизоляцию преимущественно используют при обустройстве:
- кровли;
- фундамента;
- пола.
Для потолка и стен ее практически не применяют.
Общие сведения об оклеечной гидроизоляции
Оклеечная гидроизоляция фундамента в индивидуальном строительстве используется чаще других методов. Причина в том, что для ее монтажа не требуется использование сложного оборудования и не нужно обладать специальными навыками. Преимущества оклеечной гидроизоляции заключаются в следующем:
- сравнительно низкая стоимость;
- возможность выполнения быстрого монтажа на фундаменте и кровле;
- оклейка выполняется с помощью подручных средств.
Следует учитывать некоторые особенности такого способа.
- При использовании открытого огня возникает определенная опасность.
- Проблемы обработки труднодоступных мест (проходов труб сквозь стены и кровлю, острые внутренние углы и т.п.).
- Невозможность применения вблизи пластиковых труб, кабелей и других коммуникаций из плавких материалов.
- Необходимость предварительной подготовки поверхности: выполняется выравнивание, грунтовка. Острых краев выступающей арматуры быть не должно.
Свойства полимерной гидроизоляции
Такая гидроизоляция (к не относятся самоклеящаяся пленки и мембраны из вулканизированной резины) производится с помощью самых современных технологий и потому является наиболее дорогой. Выпускается ввиде листов или в рулонах. Среди прочих ее качеств следует выделить такие:
- высокая механическая прочность и продолжительный срок службы;
- небольшая толщина;
- отсутствие усадки при сжатии;
- низкая паропроницаемость (требует устройство вентиляционного зазора);
- устойчивость к вибрационным нагрузкам.
Рекомендации по гидроизоляции мостовых сооружений рулонными наплавляемыми материалами
|
1. ОБЩИЕ ПОЛОЖЕНИЯ 1.1 Настоящее Руководство разработано в развитие требований в части гидроизоляции следующих нормативных документов: СНиП 2.05.03-84* «Мосты и трубы», СНиП 3.06.04-91 «Мосты и трубы», СНиП 2,03.11-85, СНиП 3.04.03-85 «Защита строительных конструкций от коррозии», ВСМ 32-81 «Инструкция по устройству гидроизоляции конструкций мостов и труб на железных, автомобильных и городских дорогах». 1.2 Настоящее Руководство касается выполнения гидроизоляции на пролётных строениях мостовых сооружений с железобетонной плитой проезжей части с использованием рулонных битумно-полимерных наплавляемых гидроизоляционных материалов производства Киришского завода «Изофлекс»: Изопласт ТУ 5774-005-05766480-95, Мостопласт ТУ 5774-028-01393697-99, Изоэласт ТУ 5774-007-05766480-96. 1.3. Упомянутые в п. 1.2 гидроизоляционные материалы применяют в зависимости от климатического района строительства, определяемого минимальной температурой наиболее холодных суток с обеспеченностью 0,92 по СНиП 2.01.01-82. Материал Изопласт применяют в районах строительства с температурой наиболее холодных суток до минус 40°С. Материалы Мостопласт и Изоэласт — в районах с температурой наиболее холодных суток ниже минус 40°С. Материалы Мостопласт и Изопласт могут быть также применены для устройства защитно-сцепляющего слоя на стальных мостах. В этом случае их применение осуществляют по специальным Рекомендациям и Технологическим регламентам, разработанным применительно к каждому конкретному мосту. 1.4. Настоящее Руководство содержит обязательные требования, которые необходимо соблюдать при проектировании и устройстве гидроизоляции в процессе строительства и ремонта сооружений, осуществлении контроля при производстве работ и приёмке сооружений в эксплуатацию. 1.5. В проекте сооружения должны быть предусмотрены мероприятия по отводу воды с поверхностей элементов мостового полотна, плиты проезжей части, из пониженных мест, углов в пересечениях элементов конструкций, замкнутых полостей. Поверхностям, по которым стекает вода, должны придаваться уклоны в соответствии с Нормами проектирования. Должен быть предусмотрен отвод воды, попавшей па гидроизоляцию. Следует предусмотреть предотвращение затекания воды под гидроизоляцию, для чего необходимо в проекте предусматривать конструктивные решения её сопряжения е элементами мостового полотна. 2. КОНСТРУКЦИЯ ДОРОЖНОЙ ОДЕЖДЫ И ТРЕБОВАНИЯ К ЕЁ ЭЛЕМЕНТАМ 2.1. Конструкцию дорожной одежды на железобетонной плите проезжей части выполняют в соответствии с п. 1.61* СНиП 2.05.03-84* состоящей из выравнивающего слоя с минимальной толщиной 30 мм, гидроизоляции, защитного слоя с минимальной толщиной 40 мм, двухслойного асфальтобетонного покрытия с минимальной толщиной 70 мм (рис. 2.1а), Выравнивающий слой может быть выполнен переменной толщины для придания поверхности под гидроизоляцию необходимого уклона, либо может отсутствовать при монолитной плите проезжей части, поверхность которой удовлетворяет требованиям выполнения гидроизоляции, На сборных пролётных строениях с бетонируемыми стыками устройство выравнивающего слоя обязательно. При применении материалов Изопласт и Мостопласт по согласованию с Заказчиком защитный слой может быть выполнен из асфальтобетона. В этом случае его толщину включают в состав асфальтобетонного покрытия, принимая его толщину равной 110мм (рис. 2.1. б). |
![]() |
| Рис. 2.1. Конструкция дорожной одежды. 1 — асфальтобетон 2 слоя > 70 мм; 2 — защитный слой »40 мм; 3 — арматурная сетка; 4 — гидроизоляция; 5 — выравнивающий слой »30мм; 6 — изолируемая поверхность. |
2.2. Выравнивающий слой выполняют из мелкозернистого (песчаного) бетона, имеющего класс по прочности на сжатие не ниже В 25 по ГОСТ 26633-91, марку по водонепроницаемости W 6 по ГОСТ 12730.5-84* и марку по морозостойкости F 300 по ГОСТ 10060-95 с водоцементным отношением не выше 0,42.
Применение для выравнивающего слоя керамзитобетона и других лёгких бетонов не допускается.
2.3. Гидроизоляцию плиты проезжей части выполняют из материалов Изопласт, Мостопласт, Изоэласт, имеющих в качестве армирующей основы полиэфирное полотно, с минимальной толщиной 4,5 мм. Характеристики материалов приведены в Приложении 1.
2.4. Защитный слой выполняют из мелкозернистого (песчаного) армированного бетона с характеристиками, указанными в пункте 2.2. Морозостойкость бетона защитного слоя F 300 должна определяться как для бетона дорожных и аэродромных покрытий испытанием в растворе хлористых солей по ГОСТ 10060.2-95,
Армирование бетонного защитного слоя выполняют плоскими сварными сетками из арматурной стали класса Вр 1(А1) диаметром 5 мм с ячейкой 100 х 100 мм по ГОСТ 23279-85. Арматурные сетки следует укладывать на пластмассовые или бетонные «сухарики», обеспечивая зазор под ними 10 мм. Укладка арматурных сеток непосредственно на гидроизоляцию не допускается.
2.5. В бетонную смесь для выравнивающего и защитного слоев необходимо вводить пластифицирующие и воздухововлекающие добавки в соответствии с СНиП 3.06.04-91. Введение химических добавок — ускорителей твердения и противоморозных — не допускается.
2.6. Асфальтобетонное покрытие выполняют двухслойным из горячей мелкозернистой смеси типов Б, В 1 или II марки в зависимости от состава и интенсивности движения по ГОСТ 9128-97.
3. ТРЕБОВАНИЯ К ГИДРОИЗОЛИРУЕМОЙ ПОВЕРХНОСТИ
3.1. Гидроизолируемая поверхность должна иметь продольные и поперечные уклоны, соответствующие требованиям и. 1.74. СНиП 2.05.03-84*: продольный — в соответствии с продольным профилем сооружения, поперечный — не менее 20 % .
Допускается уменьшение поперечного уклона при условии, что суммарный — векторный уклон составляет не менее 20%.
3.2. Гидроизолируемая поверхность не должна иметь раковин, наплывов бетона, трещин, неровностей с острогранными кромками, масляных пятен, пыли. Масляные пятна удаляют выжиганием, наплывы бетона срубают или шлифуют.
В конструкциях пролётных строений с клееными стыками в случае, если не устраивают выравнивающий слой, высота валиков клея допускается не выше 3 мм.
3.3. Гидроизолируемая поверхность должна быть ровной и соответствовать классу шероховатости 2-Ш, при котором допускается суммарная площадь отдельных раковин и углублений не более 3 мм до 0,2% на 1 м2 при расстоянии между выступами и впадинами 1,2-2,5 мм (СНиП 3.04,03-85 табл. 2,3).
3.4. При наличии на гидроизолируемой поверхности отдельных неровностей глубиной 10-15 мм их устраняют заполнением шпаклёвочными массами, которые должны быть удобоукладываемыми и в них не должны образовываться трещины после высыхания. Мелкие неровности могут быть заплавлены битумной мастикой.
3.5. При условии удовлетворения поверхности плиты проезжей части указанным в п.п.3.2-3.4 требованиям и наличии соответствующих уклонов специальный выравнивающий слой под гидроизоляцию не устраивают.
3.6. За бетоном выравнивающего слоя должен быть обеспечен уход с укрытием его полиэтиленовой плёнкой или периодически увлажняемой мешковиной. Не допускается нанесение плёночных распыляемых составов для ухода за бетоном.
3.7. Железнение и шлифование поверхности, на которую наклеивают гидроизоляцию, затирочными машинами не допускается.
3.8. К началу выполнения гидроизоляционных работ прочность на сжатие бетона выравнивающего слоя или плиты проезжей части при его отсутствии должна быть не менее 0,75 марочной.
3.9. Перед непосредственным устройством гидроизоляции изолируемая поверхность должна быть очищена от строительного мусора, пыли, плёнки цементного молока. Снятие плёнки цементного молока производят сухой или влажной струйно-абразивной очисткой. Окончательное удаление пыли производят промышленным пылесосом. Обработка поверхности фрезами, образующими бороздки в бетоне, не допускается.
3.10. Перед устройством гидроизоляции изолируемая поверхность должна быть сухой. Влажность бетона в поверхностном слое на глубине 20 мм должна быть не более 4%.
3.11. Устройство гидроизоляции может быть выполнено с применением и без применения грунтовки. Грунтовку приготовляют разжижением горячего полимерно-битумного вяжущего в бензине или авиационном керосине, вливая тонкой струей расплавленное вяжущее в бензин (керосин) при перемешивании. Соотношение вяжущего и бензина 1:6 — 1:7. Если при нанесении грунтовки на изолируемую поверхность она не впитывается в бетон, а стоит лужей, от ее применения следует отказаться.
|
4. ПОРЯДОК ВЫПОЛНЕНИЯ ГИДРОИЗОЛЯЦИИ И ЕЁ ПРИМЫКАНИЙ К ЭЛЕМЕНТАМ МОСТОВОГО ПОЛОТНА 4.1. Проектная документация на сооружение должна содержать конструкцию дорожной одежды и чертежи деталей и узлов гидроизоляции в местах её примыкания тротуарным блокам, ограждениям, карнизам, конструкциям деформационных швов мачтам освещения и т.н. 4.2. Гидроизоляционные работы начинают с выполнения узлов примыкали гидроизоляции к элементам мостового полотна и только после их завершения переходят к гидроизоляции основных поверхностей. 4.3. В местах установки тротуарных блоков и железобетонных парапетных ограждений гидроизоляцию выполняют в зависимости от их конструкции. Гидроизоляция при сборных тротуарных блоках и парапетных ограждениях должна быть выполнена на полную ширину плиты проезжей части. Тротуарные блоки и ограждения устанавливают на несхватившийся слой мелкозернистого бетона. В этом случае на тротуарных блоках устраивают независимую от проезжей части гидроизоляцию. В местах её примыкания к цоколю перильного и парапетного ограждений она должна быть заведена под устроенный в цоколе козырёк, глубина которого должна быть 15-20 мм, чтобы надёжно закрыть гидроизоляцию слоями дорожной одежды (рис.4.1). В местах перехода с горизонтальной поверхности на вертикальную в выравнивающим слое делают выкружку радиусом 100 ~ 150 мм. Возможен переход с горизонтальной поверхности на вертикальную под прямым углом. В этом случае в месте перехода наплавляют дополнительную полосу гидроизоляционного материала шириной 200 мм. |
![]() |
| Рис. 4.1. Примыкание гидроизоляции к вертикальной поверхности. |
|
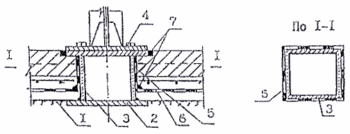
4.4. При наличии па проезжей части столиков, к которым крепят стойки барьерного ограждения, вокруг каждого столика должна быть выполнена гидроизоляция с выведением её на вертикальную поверхность столика до уровня верхней его плоскости (рис. 4.2). |
![]() |
| Рис. 4.2. Устройство гидроизоляции в месте расположения стойки ограждения. 1 — изолируемая поверхность; 2 — закладная деталь в плите проезжей части; 3 — столик ограждения; 4 — стойка ограждения; 5 — гидроизоляция столика; 6 — гидроизоляция проезжей части; 7 — мастика. |
|
4.5. При пересечении плиты проезжей части или тротуарного блока мачтами освещения гидроизоляцию заводят на стенки мачты (рис. 4.3). |
![]() |
| Рис. 4.3. Примыкание гидроизоляции к мачтам освещения. 1 — сектора; 2 — дополнительная полоса. |
|
4.6. В местах примыкания к конструкциям деформационных швов выполняют гидроизоляцию в зависимости от конструкции перекрытия шва, но в любом случае она должна исключать протечки воды через плиту проезжей части. 4.6.1. При выполнении конструкции деформационных швов с компенсаторами лоткового типа (замкнутыми, незамкнутыми) гидроизоляция должна быть заведена в компенсатор и приклеена к нему (рис. 4.4). |
![]() |
| Рис. 4.4. Устройство гидроизоляции в конструкции деформационного шва с компенсатором лоткового типа. 1 — лоток; 2 — гидроизоляция; 3 — защитный слой. |
|
4.6.2. При конструкциях деформационных швов со стальным окаймлением гидроизоляция должна быть заведена под козырёк, образуемый окаймлением (рис.4.5). |
![]() |
| Рис. 4.5. Устройство гидроизоляции в деформационных швах с окаймлением. 1 — изолируемая поверхность; 2 — гидроизоляция; 3 — дренажный канал; 4 — окаймление деформационного шва; 5 — асфальтобетонное покрытие; 6 — мастика; 7 — прилив из дисперсно-армированного бетона; 8 — защитный слой. |
|
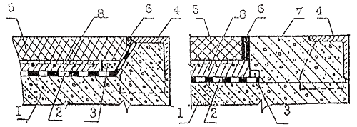
4.6.3. При выполнении конструкций деформационных швов типа Waboflex, Transflex, BEJ, Torma Joint и других подобных, устанавливаемых в штрабы, вырезаемые в асфальтобетонном покрытии, гидроизоляцию над бетонными приливами выполняют по всей ширине прилива до температурного зазора, а затем обрезают на нужную ширину. Как правило, при этих конструкциях гидроизоляция на 50 мм должна заходить внутрь штрабы (рис.4.6). |
![]() |
| Рис. 4.6.Устройство гидроизоляции при вырезании штрабы в конструкции дорожной одежды.
а) устройство гидроизоляции в месте установки конструкции деформационного шва до его монтажа б) положение гидроизоляции в штрабе для установки конструкции деформационного шва 1 — бетонный прилив; 2 — гидроизоляция; 3 — фанерный или металлический лист; 4 — асфальтобетонное покрытие. |
|
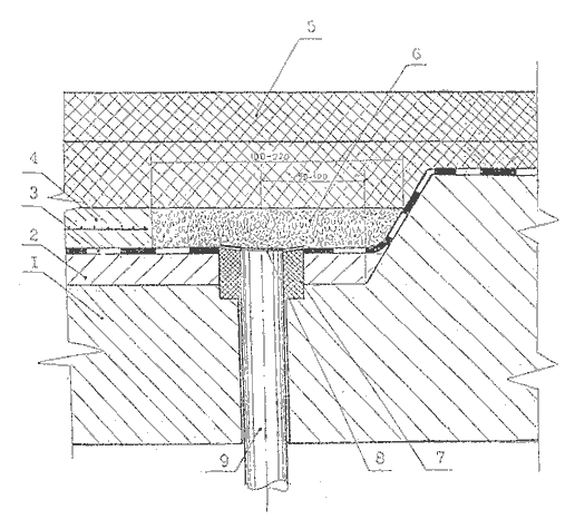
4.7. Гидроизоляция должна быть надёжно сопряжена с водоотводными трубками (рис.4.7). Вокруг трубки укладывают секторные косынки гидроизоляционного материала и заводят их концы в раструб трубки с нахлёсткой кромок не менее 50 мм. Раскрой гидроизоляционного материала показан на рис. 4.7. После выполнения гидроизоляции в трубке выполняют основную гидроизоляцию, в которой делают крестообразный разрез и лепестки приклеивают внутри трубки. После устройства гидроизоляции в трубку устанавливают прижимной стакан (водоприёмную воронку) и решётку. Пространство вокруг трубки заполняют дренирующим материалом. |
![]() |
|
![]() |
|
| Рис. 4.7. Сопряжение гидроизоляции с водоотводной трубкой и раскрой гидроизоляционного материала. а) примыкание дорожной одежды к водоотводной трубке; б) раскрой гидроизоляционного материала 1 — плита проезжей части; 2 — трубка; 3 — выравнивающий слой; 4 — гидроизоляция; 5 — защитный слой; 6 — дренаж; 7 — воронка; 8 — решетка; 9 — асфальтобетонное покрытие; 10 — битумная мастика. |
|
|
4.8. В соответствии с проектом выполняют устройство дренажной системы для отвода воды, попавшей на гидроизоляцию. Дренажная система содержит дренажные трубки и дренажные каналы (рис. 4.8), которые выполняют в соответствии с «Руководством по устройству дренажа на проезжей части мостовых сооружений». Союздорнии, 1997.; 4.9. После выполнения конструкции дорожной одежды в местах всех примыканий асфальтобетонного покрытия к элементам мостового полотна должны быть образованы штрабы сечением 10×20 — 10х50 мм, которые заливают битумной мастикой. |
|
![]() |
|
![]() |
Рис. 4.8. Деталь дренажного канала и трубки. 1 — изолируемая поверхность; 2 — гидроизоляция; 3 — дренажный канал; 4 — окаймление деформационного шва; 5 — асфальтобетонное покрытие; 6 — мастика; 7 — прилив из дисперсно-армированного бетона; 8 — защитный слой. |
|
5. ТЕХНОЛОГИЯ УСТРОЙСТВА ГИДРОИЗОЛЯЦИИ 5.1. Гидроизоляцию из рулонных наплавляемых материалов укладывают и одни слой но подготовленной в соответствии с разделом 3 поверхности выравнивающего слоя или плиты проезжей части. |
![]() |
| Рис. 5.1. Конструкция гидроизоляции. 1 — рулонный гидроизоляционный материал; 2 — изолируемая поверхность. |
|
5.2. Укладку гидроизоляционного материала производят, раскатывая рулоны в продольном направлении, начиная с пониженных мест (рис.5.2). |
![]() |
| Рис. 5.2. Порядок укладки гидроизоляционного материала. |
|
Допускается поперечная раскатка рулонов с расположением нахлёстки материалов в поперечном направлении с учётом продольного уклона так, чтобы верхний рулон был наклеен на нижний с верховой по уклону стороны. 5.3. Перед укладкой гидроизоляции рекомендуется развернуть на подготовленное основание 5-6 рулонов, примерить каждый рулон по отношению к другому, обеспечив нахлёст по продольным кромкам. Затем приклеить концы всех рулонов с одной стороны и скатать материал снова в рулоны. Рулон материала для удобства работы с ним и обеспечения необходимого качества гидроизоляции должен быть круглым. Плоский рулон материала следует перемотать. 5.4. Полотна рулонных материалов наклеивают внахлёстку на 6-10 см по продольным сторонам и не менее 15 см в поперечных стыках (рис. 5.3). При наличии на полотнище материала крупнозернистой посыпки ее счищают с зоны стыка. |
![]() |
| Рис. 5.3. Соединение полотен гидроизоляционного материала. |
|
5.5. Устройство гидроизоляции из рулонных гидроизоляционных материалов производят путём его наклейки на бетонную поверхность, оплавляя нижнюю поверхность рулона пламенем воздушно-газовой горелки и одновременно подогревая поверхность основания, медленно разворачивая рулон и прижимая его к основанию (рис.5.4). Капли покровной массы или небольшой валик мастики в месте соприкосновения рулона с основанием свидетельствуют о правильном температурном режиме укладки. Наличие большого количества вытекающей массы, а также появление дыма указывают на перегрев материала. Имеющаяся на нижней поверхности материала полиэтиленовая плёнка должна быть полностью расплавлена вместе с битумной массой. |
5. ТЕХНОЛОГИЯ УСТРОЙСТВА ГИДРОИЗОЛЯЦИИ
5.6. Наклеиваемые полотнища не должны иметь складок, морщин, волнистости. Но если это случится, допускаемая иысота складки, расположенной вдоль уклона, не должна превышать 10 мм.
5.7. В зимний период при раскатке рулонов их необходимо подогревать пламенем горелки с наружной стороны.
5.8. Для наклейки рулонных материалов применяют газ пропан с расходом 0,3-0,6 л/м2 в зависимости от температуры воздуха. Наклейку производят однофакельными или многофакельными горелками.
5.9. Наклейка может быть произведена также с использованием кровельной машины «Луч-4У-1» способом наплавления инфракрасным нагревом.
5.10. При выполнении гидроизоляционных работ следует принять меры предосторожности против попадания на гидроизоляцию масла, бензина, дизельного топлива и других растворителей. В случае пролива указанных материалов поврежденный участок вырезают и ставят заплату.
6. УСЛОВИЯ ПРОИЗВОДСТВА ГИДРОИЗОЛЯЦИОННЫХ РАБОТ
6.1. В соответствии с требованиями СНиП 3.06.03-85 п.10.16 устройство асфальтобетонных покрытий можно выполнять осенью при температуре не ниже плюс 10 С, поэтому организация работ на объекте должна предусматривать завершение гидроизоляционных работ до наступления низких температур воздуха.
6.2. В случае необходимости производства работ по устройству гидроизоляции при низких температурах воздуха предпочтительно производить работы в тепляках, хотя возможно выполнение работ с рулонными наплавляемыми материалами без тепляков при температуре до минус 15°С. Изолируемая поверхность при этом должна быть освобождена от снега и льда и высушена.
7. ТРЕБОВАНИЯ К ОБОРУДОВАНИЮ И ГИДРОИЗОЛИРОВЩИКАМ ПРИ ВЫПОЛНЕНИИ ГИДРОИЗОЛЯЦИОННЫХ РАБОТ
7.1. По гидроизоляции не допускается движение транспортных средств, кроме подвозящих бетонную смесь для защитного слоя.
7.2. На выполненной гидроизоляции не допускается резкое торможение и разворот автомобилей.
7.3. Протекторы на всём оборудовании, перемещающемся по гидроизоляции, должны регулярно проверяться и застрявшие в них каменные материалы удаляться.
8. КОНТРОЛЬ КАЧЕСТВА ВЫПОЛНЕНИЯ ГИДРОИЗОЛЯЦИИ,
ПРАВИЛА ПРИЁМКИ
8.1. Устройству гидроизоляции должна предшествовать приёмка выравнивающего слоя. Исполнитель должен представить заказчику журнал производства работ, протоколы испытаний материала выравнивающего слоя по определению показателей прочности, водонепроницаемости, морозостойкости, влажности, а также акты на скрытые работы по результатам инструментального контроля ровности и уклонов поверхности. При приёмке выравнивающего слоя определяют его соответствие требованиям р.З настоящего Руководства.
8.2. Ровность основания и его шероховатость проверяют трёхметровой рейкой по ГОСТ 2789-75*. Рейку укладывают на поверхность выравнивающего слоя в продольном и поперечном направлениях и с помощью имеющегося в комплекте измерителя замеряют зазоры по длине, округляя результаты измерений до 1 мм, Просветы под трехметровой рейкой должны быть только плавного очертания и не более одного на 1 м. Максимальная глубина просвета не должна превышать 5 мм.
8.3. Влажность основания оценивают непосредственно перед устройством гидроизоляции неразрушающим методом при помощи поверхностного влагомера, например, ВСКМ-12, либо на образцах бетона, выбуренных из выравнивающего слоя или плиты проезжей части, в соответствии с ГОСТ 5802-86. Влажность определяют в трёх точках изолируемой поверхности. При площади основания свыше 500 м2 количество точек измерения увеличивают на одну на каждые 500 м2, но не более шести точек.
8.4. Перед выполнением гидроизоляции производят приёмку гидроизоляционных материалов по паспортам в соответствии с ГОСТ 2678-94 и ГОСТ 26627-85, сопоставляя физико-механические характеристики с приведёнными в настоящем Руководстве. По требованию заказчика о контрольной проверке физико-механических характеристик материала испытания выполняют в соответствии с Техническими условиями на его производство и ГОСТ 2678-94, Определение количественных показателей характеристик должно быть выполнено также в случае просроченного гарантийного срока хранения материала. В случае несоответствия поступивших материалов нормативным требованиям составляют акт на брак и такие материалы при производстве работ не применяют.
8.5. При приёмке гидроизоляции производят визуальный контроль её сплошности по всей гидроизолируемой поверхности, проверяют сопряжение её с элементами мостового полотна, определяют наличие дефектов приклейки гидроизоляции. Качество приклейки гидроизоляции определяют визуально по наличию или отсутствию пузырей и путём простукивания гидроизоляции металлическим стержнем. Места непроклея определяются по глухому звуку.
8.6. При наличии пузырей в гидроизоляции, свидетельствующих об отсутствии её приклейки к основанию, их устраняют, разрезая пузырь крест — накрест (рис.8.1).
![]() |
| Рис. 8.1. Устранение дефекта-разрезка пузыря. |
Отгибают неприклеенные концы материала, производят их приклейку оплавлением нижней поверхности и перекрывают повреждённое место заплатой с нахлёсткой со всех сторон разрезов на 100 мм.
Допускается не более трёх заплат на 100 м .
8.7. Адгезию рулонных материалов проверяют испытанием на отдир, для чего в гидроизоляционном материале делают П-образный надрез с размерами сторон 200^50×200 мм. Свободный конец полосы надрывают и тянут под углом 120-180°.
Разрыв должен быть когезионным, т.е. должно происходить расслоение по толщине материала. По результатам испытаний составляют протокол.
Испытание должно производиться через 1 сутки после наклейки гидроизоляции при температуре не выше 30°С под гидроизоляцией.
8.8. Результаты приёмки гидроизоляции оформляют актом на скрытые работы установленной формы.
8.9. Приёмку защитного слоя производят аналогично приёмке выравнивающего слоя.
8.10. Формы исполнительной документации по устройству конструкции дорожной одежды приведены в Приложении 2.
9. ТЕХНИКА БЕЗОПАСНОСТИ ПРИ ВЫПОЛНЕНИИ ГИДРОИЗОЛЯЦИОННЫХ РАБОТ
9.1. Гидроизоляционные работы выполняют с соблюдением правил безопасности, предусмотренных главой СНиП «Техника безопасности в строительстве», «Правилами техники безопасности и производственной санитарии при сооружении мостов и труб»,
9.2. Гидроизоляционные работы должны выполнять гидроизолировщики, сдавшие в установленном порядке техминимум по технологии производства и технике безопасности. Руководство работами и контроль качества должны выполнять лица, имеющие опыт гидроизоляции мостовых сооружений. Каждый рабочий при допуске к работе должен пройти инструктаж на рабочем месте с соответствующей записью в журнале.
9.3. На объекте должны быть руководящие материалы по производству работ и технике безопасности работы с наплавляемыми рулонными гидроизоляционными материалами.
9.4. Работы по устройству гидроизоляции должны проводиться с соблюдением требований пожарной безопасности. Рабочие места должны быть оборудованы средствами пожаротушения.
9.5. Укрытия для производства гидроизоляционных работ должны быть оборудованы эффективной вентиляцией. При недостаточной вентиляции необходимо использовать респираторы с угольным фильтром.
9.6. Кожу лица и рук следует защищать специальными защитными пастами и кремами.
9.7. Производство струйно-абразивной очистки следует осуществлять в защитных шлемах пескоструйщика и специальных комбинезонах для пескоструйных работ.
9.8. Уровень шума газовых горелок и пескоструйных аппаратов может достигать 88-96 децибелл, что требует защиты органов слуха, предпочтительнее использовать маломощные горелки из-за низкого уровня шума.
9.9. При работе с газовыми баллонами и оборудованием струйно-абразивной очистки следует соблюдать правила работы с аппаратами, находящимися под давлением.
9.10. На рабочем месте должны быть средства индивидуальной защиты: защитные очки, наушники, респираторы, перчатки, защитная одежда и обувь. Обувь должна иметь подошву, препятствующую скольжению; обувь должна выдерживать также повышенную температуру. Не допускается работа в обуви, имеющей в подошве подковы, гвозди, способные повредить гидроизоляционные покрытия.
10. ОХРАНА ОКРУЖАЮЩЕЙ СРЕДЫ
10.1. Перед началом гидроизоляционных работ на территории объекта должны быть выделены места складирования материалов, баллонов с горючими газами.
10.2. При работе с гидроизоляционными материалами высвобождаются поддоны, этикетки, обрезки гидроизоляционных материалов. Их утилизация должна быть предусмотрена в специально отведённых местах.
ПЕРЕЧЕНЬ ССЫЛОЧНЫХ МАТЕРИАЛОВ
1. СНиП 2.01.01-82 » Строительная климатология и геофизика»
2. СНиП 2.03.11 -85 «Защита строительных конструкций от коррозии»
3. СНиП 2.05.03-84* «Мосты и трубы»
4. СНиП 3.04.03-85 «Защита строительных конструкций и сооружений от коррозии»
5. СНиП 3.06,03-85 «Автомобильные дороги»
6. СНиП 3.06.04-91 «Мосты и трубы»
7. СНиП III-4-80 «Техника безопасности в строительстве»
8. ВСН 32-81 «Инструкция по устройству гидроизоляции конструкций мостов и труб на железных, автомобильных и городских дорогах»
9. ТУ 5774-005-05766480-95 Материал рулонный кровельный и гидроизоляционный наплавляемый битумно-полимерный. «Изопласт»
10. ТУ 5774-025-01393697-99 Материал рулонный гидроизоляционный наплавляемый битумно-полимерный «Мостопласт»
11. ТУ 5774-007-05766480-96 Материал рулонный кровельный и гидроизоляционный наплавляемый битумно-полимерный «Изоэласт»
12. ГОСТ 2678-94 «Материалы рулонные кровельные и гидроизоляционные. Методы испытаний»
13. ГОСТ 2789-75* «Шероховатость поверхности. Параметры и характеристики»
14. ГОСТ 5802-86 «Растворы строительные. Методы испытаний»
15. ГОСТ 9128-97 «Смеси асфальтобетонные дорожные, аэродромные и асфальтобетон. Технические условия»
16. ГОСТ 10060-95 «Бетоны. Методы контроля морозостойкости»
17. ГОСТ 12730.5-84* «Бетоны. Методы определения водонепроницаемости»
18. ГОСТ 23279-85 «Сетки арматурные сварные для железобетонных конструкций и изделий. Общие технические условия»
19. ГОСТ 26627-85 «Материалы рулонные кровельные и гидроизоляционные. Правила приемки»
20. ГОСТ 26633-91 «Бетоны тяжёлые и мелкозернистые. Технические условия»
21. «Руководство по устройству дренажа на проезжей части мостовых сооружений», Союздорнии, 1997 г.
22. «Правила техники безопасности и производственной санитарии при сооружении мостов и труб»
|
ФИЗИКО-МЕХАНИЧЕСКИЕ ХАРАКТЕРИСТИКИ МАТЕРИАЛОВ ИЗОПЛАСТ, МОСТОПЛАСТ, ИЗОЭЛАСТ |
|||||||||||||||||||||||||||||||||||||||||||||||||||||||||||||||
|


































